メインコンテンツへスキップ
リクエストを送信
マイページ
ユーザーサポート|ミズノ公式オンライン
ミズノ製品について
その他
ユーザーサポート
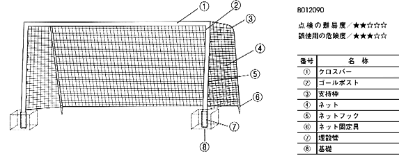
学校体育で使用される、主なスポーツ品の使用方法についてサッカーゴール
サッカーゴール(移動式)
サッカーゴール(抜差式)
「スポーツ器具の正しい使い方と安全点検の手引き」より抜粋
関連記事
学校体育で使用される、主なスポーツ品の使用方法について
製品カタログ
学校体育で使用される、主なスポーツ品の使用方法について フットサルゴール
【バッグ】フロントマーキングパーツ(取り外し式ポケット)は単品購入できますか。
学校体育で使用される、主なスポーツ品の使用方法についてソフトマット